困境反转型股票有哪些「19年困境反转股」
困境反转类型公司是指:已经受到重大打击,有些甚至要进入破产保护的公司。从传统意义上,这类公司主营业务几乎看不到增长,业务也不会想周期性行业那样会反转(作为策略单论),正常的投资收益跟这类公司基本上没有关系。不过,所谓破船还有三斤钉,不排除这类公司中会上演惊天大逆转的好戏,获得超高投资收益。
困境反转逻辑不复杂,但是国内把这块作为策略来做的机构不多,属于相对小众的。本人主要履历在FICC领域,根据实际交易经验,一个公司如果困境反转了,股票收益弹性、流动性会好于其名下的债券,但是债券在到期不违约的情况下,收益的确定性会高很多。两个品种各有优缺点。
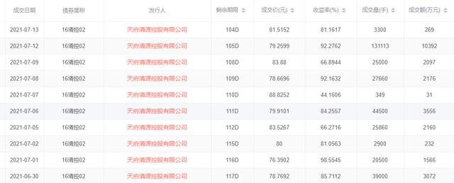
2021年,清华控股案例:院校系代表,盲目扩张遇到危机重组。21年4-5月份,传出财政部要求清华大学剥离非教学科研版块,同时给予了很大的支持。16清控02债券,开始出现异动,查询后可以看出低价成交75-76元,绝对收益率35%左右。
16清控02部分交易截图
紫光股票走势,节选5月底到10月底债券兑付,股票价格从18到27,涨幅150%。中间还到达股价30元。
而清华控股名下子公司紫光股份,也受益于母公司整体困境好转,加上当时硬科技受到追捧。持有期收益50%,大于同时期债券。且,股票流动性好,可以在合适价格卖出去。
案例二:猪周期行业,属于问题没有预期那么严重,比如新希望、温氏,以及争议颇多的牧原股份。6月下旬,因为正邦债券违约事件持续发酵 猪头价格持续低迷,市场信心不足,某些大牌猪肉企业的一年期债券的YTM都到了12-13%。而从六月下旬到7月初,猪头的指数以及个券涨幅收益都有20%,并且股票反应更快从五月就有体现了(一方面也是随着大盘回升)。一方面股票一周多时间有超过15%收益,是大于一年期债券;另一方面下图也显示了,股票波动率大很多。所以,两个品种各有优缺点,具体还是看投资人喜好和风险接受能力。
补充一下,6月下旬以来猪头价格大涨,结合当前流动性过于充裕、利率债高位、汇率的位置和美联储的败家操作。我们货币当局的操作空间,阶段性的被封住了。所以发哥召开生猪市场座谈会——不知道又有多少小猪们会“英年早逝”了[捂脸]。
除了以上,房地产、有色等都出现过类似机会,虽然困境反转有规律可循,但是每个行业、不同时间点都有差异的。以上内容不不构成投资意见。